

北京地處中國北部、華北平原北部,東與天津毗連,其余均與河北相鄰,中心位置東經116°20′、北緯39°56′,是世界著名古都和現代化國際城市,也是中國共產黨中央委員會、中華人民共和國中央人民政府和全國人民代表大會常務委員會的辦公所在地。

防水套管的標準 02S404是我國定編的防水套管新標準,套管的長短依據墻面的薄厚而定。防水套管:防水套管是管道越過鐵路、大馬路、街道社區等處,為避免管道受載荷被壓爛,而在管道外界設定的防御性套管。防水套管分成剛度防水套管和柔性防水套管。剛度防水套管是無縫鋼管另加翼環;柔性防水套管除開外界翼環,內部也有檔圈這類的。柔性防水套管是適用管道越過墻面的地方受有震動或有嚴實防潮規定的建筑物的五金管材,一般制造業企業是依據工程建筑科學院研發設計方案的S312、02S404建筑圖集生產制造的。柔性防水套管過墻處之墻面,如遇非混凝土時要改成混凝土墻面,務必將套管一次凝結于墻里;柔性防水套管施普遍用以工程建筑、化工廠、鋼材、飲用水、廢水處理等企業。
02S404國家標準防水套管的安裝方式 及常見問題,在施工現場是要嚴苛依照的,大家解讀一下防水套管的安裝方式 及必須留意的。
安裝時與土建施工一起工程施工——在管道穿異形柱,剪應力基本墻及穿梁的混凝土墻時,安裝時要隨土建施工一起安裝。由于預埋孔眼后,國家標準防水套管與預埋孔眼中間的二次澆筑不太好解決;有的沒法解決,如別墅地下室基本混凝土框架柱上安裝剛度防水套管這一就沒辦法解決或是解決出來的不便水平挺大。
在管道鋪裝前安裝——在管道穿混凝土混凝土樓板時,要事前留好預埋孔眼,預埋孔眼規格前幾章大家講過。在穿墻體處能夠 中后期開掘一個磚孔眼。混凝土樓板處,在安管道以前,掉通線、安裝套管。墻體上,劃線,栽設支撐架,找好傾斜度,安裝套管。 防水套管在應用安裝強要查驗好,考察期外型是不是有顯著缺點。次之,查驗全部管材有沒有縫隙、有沒有沙孔、壁厚是不是薄厚勻稱。再度查驗電焊焊接口是不是電焊焊接堅固 最終,防水套管安裝時的管道傾斜度應勻稱,不可有倒坡,防水套管的管道安裝應按工程施工施工驗收規范設定抗震支架。
5 常見問題 編寫本段防水套管安裝留意:當迎水的一面為浸蝕物質時,能用橡膠密封件將間隙堵漏,入股票市場非混凝土墻壁應部分改成混凝土,澆筑范疇規格應該是比翼環直徑(標準圖集標明D5尺寸)大200,套管應一次性混凝土澆筑與墻里。過墻管的混凝土薄厚不應該低于300,低于得話兩側應當加厚型。加厚型一部分的直徑至少規格為D5 200。套管的重量計算以L=300,如墻厚超過300時,應再行測算。
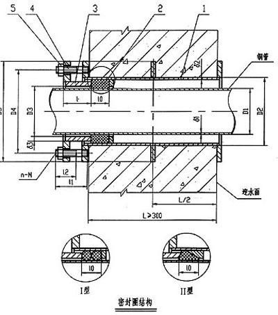
02S404柔性防水套管說明:
1、本圖尺寸均以毫米來計。
2、柔性防水套管一般穿過墻壁之處受有振動或有嚴密防水要求的構筑物。
3、套管部分加工完成后,在其外壁均刷底漆一遍(底漆包括樟丹或冷底子油)。外層防腐由設計決定。
4、套管穿墻之墻壁,如遇非混凝土墻壁時應改用混凝土墻壁,其澆注混凝土范圍應比翼環直徑( D6 )大 200mm ,而且將套管澆固與墻內。
5、穿管處之混凝土墻厚應不小于 300mm 否則應使墻壁一邊加厚或兩邊加厚。加厚部分的直徑小應比翼環直徑( D6 ) 200mm
6、套管的材料重量是按墻厚 L 值為 300mm 應另行計算。
7、套管部件材料,用 A3 材料制作, T42 。
I型柔性防水套管說明:
1、當迎水面為腐蝕性介質時,可采用封堵材料將縫隙封堵。
2、套管穿墻處如遇非混凝土墻壁時,應局部改用混凝土墻壁,其澆注范圍應比翼環直徑(D5)大200,而且將套管一次澆固于墻內。
3、穿管處混凝土墻厚應不小于300,否則應使墻壁一邊加厚或兩邊加厚,加厚部分的直徑至少為D5+200。
4、套管的重量以L=300計算,如墻厚大于300時,應另行計算。
II型柔性防水套管說明:
1、柔性填料材料:瀝青麻絲、聚苯乙烯板、聚乙烯泡沫塑料板。
2、密封膏:聚硫密封膏、聚胺脂密封膏。
3、套管穿墻處如遇非混凝土墻壁時,應局部改用混凝土墻壁,其澆注范圍應比翼環直徑(D5)大200,而且將套管一次澆固于墻內。
4、穿管處混凝土墻厚應不小于300,否則應使墻壁一邊加厚或兩邊加厚,加厚部分的直徑至少為D5+200。
5、套管的重量以L=300計算,如墻厚大于300時,應另行計算。
剛性防水套管適用于管道穿墻處不承受管道振動和伸縮變形的構(建)筑物,適用于管道穿墻處空間有限或管道安裝先于構(建)筑物或管道的更新改造。對于有地震設防要求的地區,如采用剛性防水套管,應在進入池壁或建筑物外墻的管道上就近設置柔性連接。A型適用于鋼管,B,C型適用于球墨鑄鐵鋼管及鑄鐵管。
剛性防水套管在用于與腐蝕性介質接觸時,設計人應根據介質性及防腐要求,另行選擇使用的耐腐蝕材料。金屬表面涂覆前應進行除銹,手工除銹質量應達到GB8923-88標準中的st3級,噴射除銹質量應達到Sa2 1/2 級。
剛性防水套管使用范圍:
剛性防水套管適用于管道穿墻處不承受管道振動和伸縮變形的構(建)筑物,對于設防要求的地區,如采用剛性防水套管,應在進入池壁或建筑物外墻的管道上就近設置柔性連接,A型適用于鋼管。
再次感謝廣大客戶朋友對鞏義市天翔管道設備有限公司產品的大力支持。在此,我協鞏義市天翔管道設備有限公司全體員工感謝您的光臨!如有意者,請撥打我們的熱線電話:【0371-64026667 】聯系人:【 張經理 】 手機:【 18530918277 】我們將竭誠為您服務!
鞏義市天翔管道設備有限公司自創廠以來,不斷的在技術和應用上取得新的創新和突破。天翔管道以管理、服務主動的態度在眾多合作伙伴中建立起了良好的信譽,兼容并蓄,不斷向管道應用行業深入發展。經營范圍:橡膠接頭,防水套管,補償器,膨脹節,波紋補償器,旋轉補償器,無推力補償器,套筒補償器,伸縮器,傳力接頭,伸縮接頭,無約束補償器,法蘭盤,人孔,彎頭,三通,閘閥,蝶閥,鴨嘴閥,等系列產品。
技術參數:
02S404柔性防水套管主要尺寸、重量表
| DN | D1 | D2 | D3 | D4 | D5 | I | 10 | I1 | I2 | D1 | D2 | D3 | n-M | A型重量(kg) | B型重量(kg) | |||
| I型 | Ⅱ型 | I型 | Ⅱ型 | I型 | Ⅱ型 | |||||||||||||
| 50 | 60 | 95 | 65 | 145 | 200 | 65 | 28 | - | 72 | 30 | 3.5 | 4 | 8 | 4-M12 | 14.40 | - | 14.60 | - |
| 65 | 76 | 114 | 80 | 165 | 220 | 65 | 28 | 25 | 72 | 30 | 3.75 | 4 | 8 | 4-M12 | 16.89 | 17.07 | 17.18 | 17.35 |
| 80 | 89 | 127 | 95 | 180 | 235 | 65 | 28 | 25 | 76 | 38 | 4 | 4 | 10 | 4-M16 | 21.12 | 21.31 | 21.42 | 21.61 |
| 100 | 108 | 146 | 114 | 200 | 255 | 65 | 28 | 25 | 76 | 38 | 4 | 4.5 | 10 | 4-M16 | 24.37 | 24.58 | 24.71 | 24.92 |
| 125 | 133 | 180 | 140 | 235 | 290 | 65 | 28 | 25 | 76 | 38 | 4 | 6 | 10 | 6-M16 | 31.92 | 32.31 | 32.43 | 32.82 |
| 150 | 159 | 203 | 165 | 260 | 315 | 65 | 28 | 25 | 76 | 38 | 4.5 | 6 | 10 | 6-M16 | 35.77 | 36.17 | 36.31 | 36.72 |
| 200 | 219 | 265 | 226 | 320 | 375 | 65 | 28 | 25 | 76 | 38 | 6 | 6 | 10 | 6-M16 | 44.69 | 45.29 | 45.29 | 45.87 |
| 250 | 273 | 325 | 280 | 380 | 435 | 65 | 28 | 25 | 76 | 38 | 8 | 8 | 10 | 8-M16 | 59.41 | 60.22 | 60.43 | 61.33 |
| 300 | 325 | 377 | 333 | 435 | 495 | 72 | 28 | 30 | 90 | 46 | 8 | 10 | 10 | 8-M20 | 89.37 | 90.02 | 90.35 | 91.14 |
| 350 | 377 | 426 | 385 | 485 | 545 | 72 | 32 | 30 | 90 | 46 | 10 | 10 | 10 | 8-M20 | 99.74 | 100.3 | 100.7 | 101.5 |
| 400 | 426 | 480 | 435 | 540 | 600 | 72 | 32 | 30 | 90 | 46 | 1O | 10 | 10 | 12-M20 | 114.0 | 114.8 | 115.3 | 116.4 |
| 450 | 480 | 530 | 488 | 590 | 650 | 72 | 32 | 30 | 90 | 46 | 10 | 1O | 10 | 12-M20 | 124.1 | 124.7 | - | - |
| 500 | 530 | 585 | 538 | 645 | 705 | 72 | 32 | 30 | 90 | 46 | 10 | 10 | 10 | 16-M20 | 139.3 | 140.5 | - | - |
| 600 | 630 | 690 | 640 | 755 | 820 | 75 | 32 | 30 | 104 | 54 | 10 | 10 | 12 | 16-M24 | 197.2 | 198.2 | - | - |
| 700 | 720 | 780 | 730 | 845 | 910 | 75 | 40 | 30 | 104 | 54 | 10 | 1O | 12 | 20-M24 | 222.6 | 223.7 | - | - |
| 800 | 820 | 880 | 830 | 950 | 1020 | 80 | 40 | 40 | 117 | 60 | 10 | 10 | 12 | 20-M27 | 280.0 | 282.3 | - | - |
| 900 | 920 | 980 | 930 | 1050 | 1120 | 80 | 40 | 40 | 117 | 60 | 10 | 10 | 12 | 20-M27 | 309.6 | 312.2 | - | - |
| 1000 | 1020 | 1080 | 1030 | 1150 | 1220 | 80 | 40 | 40 | 117 | 60 | 10 | 10 | 12 | 24-M27 | 341.1 | 344.0 | - | - |
注:訂貨時注明管子外徑,大于DN1400、墻厚大于或小于300mm的產品可訂制加工。
剛性防水套管(A型)尺寸表、重量表
| DN | D1 | D2 | D3 | D4 | δ | B | k |
重量 (kg) |
| 50 | 60 | 80 | 114 | 225 | 3.5 | 10 | 4 | 4.49 |
| 65 | 75.5 | 95 | 121 | 230 | 3.75 | 10 | 4 | 4.66 |
| 80 | 89 | 110 | 140 | 250 | 4 | 10 | 4 | 5.33 |
| 100 | 108 | 130 | 159 | 270 | 4.5 | 10 | 5 | 6.36 |
| 125 | 133 | 155 | 180 | 290 | 6 | 10 | 6 | 8.33 |
| 150 | 159 | 180 | 219 | 330 | 6 | 10 | 6 | 1O.06 |
| 200 | 219 | 240 | 273 | 385 | 8 | 12 | 8 | 15.9 |
| 250 | 273 | 295 | 325 | 435 | 8 | 12 | 8 | 18.68 |
| 300 | 325 | 345 | 377 | 500 | 10 | 14 | 10 | 27.40 |
| 350 | 377 | 400 | 426 | 550 | 10 | 14 | 10 | 30.95 |
| 400 | 426 | 445 | 480 | 600 | 10 | 14 | 10 | 34.35 |
| 450 | 480 | 500 | 530 | 650 | 1O | 14 | 10 | 37.85 |
| 500 | 530 | 550 | 590 | 730 | 10 | 16 | 10 | 44.54 |
| 600 | 630 | 660 | 690 | 830 | 10 | 16 | 10 | 54.50 |
| 700 | 720 | 750 | 790 | 920 | 10 | 16 | 10 | 61.43 |
| 800 | 820 | 850 | 880 | 1020 | 10 | 16 | 10 | 69.12 |
| 900 | 920 | 950 | 980 | 1120 | 10 | 16 | 10 | 76.81 |
| 1000 | 1020 | 1050 | 1080 | 1230 | 10 | 16 | 10 | 84.50 |
| 1200 | 1220 | 1250 | 1290 | 1430 | 12 | 20 | 12 | 122.5 |
| 1400 | 1420 | 1450 | 1490 | 1630 | 12 | 20 | 12 | 141.3 |
| 1600 | 1620 | 1650 | 1690 | 1830 | 14 | 20 | 14 | 176.4 |
| 1800 | 1820 | 1850 | 1900 | 2040 | 16 | 20 | 16 | 216.6 |
| 2000 | 2020 | 2050 | 2100 | 2240 | 16 | 20 | 16 | 239.3 |
當穿墻管的材質和外徑等超出本圖集范圍,應注意對防水套管的結構形式、尺寸及縫隙內采用的填料等進行必要的調整和修正。
